Dòng cực đại: 20A
Điện áp cực đại: 600V
Kiểu chân cắm: TO-220
Dải nhiệt độ hoạt động: -40ºC~125ºC
BTA20-600B là linh kiện điện tử bán dẫn thuộc dòng Triac, có cấu tạo gồm 3 cực 5 lớp. Làm việc như 2 thyristor được mắc song song ngược chiều

BTA20- 600B TO2220

Cấu tạo Triac
Dòng cực đại: 20A
Điện áp cực đại: 600V
Kiểu chân cắm: TO-220
Dải nhiệt độ hoạt động: -40ºC~125ºC

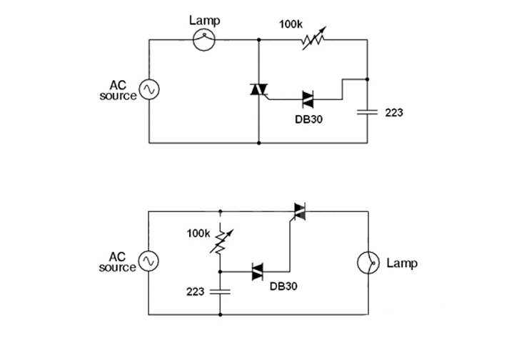
Mạch ứng dụng Triac
Hướng dẫn sử dụng và lưu ý
Dòng kích IG của triac có thể là dòng âm hay dương. Nếu kích bằng điện áp âm thì trị tuyệt đối của dòng kích âm sẽ phải lớn hơn dòng kích dương nhưng sẽ ổn định hơn khi kích dòng dương
Để hiểu thêm về sản phẩm BTA20-60B 600V/20A bạn có thể liên hệ với Linh kiện 3M, chúng tôi sẽ giúp bạn giải quyết mọi thắc mắc thông qua:
Chế độ bảo hành
Chế độ bảo hành sản phẩm của Linh Kiện Điện Tử 3M
Bảo đảm chất lượng
Sản phẩm được Test, dán Tem trước khi được đóng gói Kĩ Càng gửi cho Quý Khách
Cước vận chuyển
Cước vận chuyển được tự động đồng bộ đơn vị vận chuyển, Sản phẩm phát ngay trong ngày. Hỗ trợ đơn hàng: 0865.853.416
Hỗ trợ kỹ thuật
Tư vấn kĩ thuật: 0865.853.416 Khi khách hàng gặp khó khăn trong quá trình sử dụng